
LPC2368FBD100K
- 厂商名称NXP恩智浦
- 元件分类ARM微控制器
- 中文描述LPC2368FBD100:Arm7?,带512 kB闪存、58 kB SRAM、以太网、USB 2.0设备、CAN、SD/MMC以及10位ADC
- 英文描述ARM7 with 512 kB flash,58 kB SRAM,Ethernet,USB 2.0 Device,CAN,SD/MMC,and 10-bit ADC
- 数据手册LPC2368FBD100K数据手册Datasheet PDF
- 在线购买
LPC2368FBD100K概述
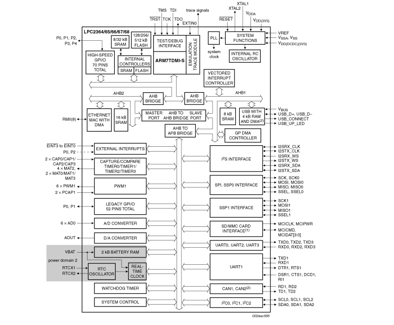
LPC2368FBD100是一种适合嵌入式应用的Arm7微控制器,具有高集成度和低功耗的特点,运行频率为72 MHz。功能包括最多256 KB闪存、58 KB的RAM、以太网MAC、USB设备/主机/OTG、DMA控制器、SD/MMC、4个UART、2个CAN通道、3个SSP/SPI、3个I2C、I2S、8通道10位ADC、10位DAC、2个PWM、4个通用定时器、独立电池供电的低功率实时时钟,以及最多70个通用I/O引脚。LPC23xx与LPC176x Cortex-M3系列引脚兼容。
产品特性
Arm7TDMI-S?处理器,运行频率高达72
MHz
10位DAC
高达512
kB的片上闪存程序存储器,实现系统内编程(ISP)
4个通用定时器/计数器, 带总共8个捕获输入
Arm局部总线上的32
kB SRAM,用于高性能CPU访问
一个PWM/定时器模块,支持三相电机控制
用于通用DMA的8
kB SRAM也可通过USB访问
实时时钟(RTC)
用于以太网接口的16
KB SRAM 也可用作通用SRAM
由RTC电源引脚供电的2 KB SRAM
双路先进高性能总线(AHB)系统
看门狗定时器(WDT)。
先进的矢量中断控制器(VIC)
与现有工具兼容的标准Arm测试/调试接口
AHB上的通用DMA控制器(GPDMA)
仿真跟踪模块支持实时跟踪
以太网MAC以及相关的DMA控制器
3.3 V单电源(3.0V 至 3.6V)
4个带小数波特率生成器的UART
4种低功耗模式:空闲模式、睡眠模式、掉电模式和深度掉电模式
带片上PHY的USB
2.0全速设备
四个可配置为边沿/电平敏感型的外部中断输入
双通道CAN控制器
处理器通过任何中断从掉电模式唤醒
SPI控制器
两个独立的电源域,允许功耗微调
2个SSP控制器,带FIFO和多协议功能
为进一步节电,每个外设都有其自己的时钟分频器
3个I2C总线接口
采用中断和强制复位的独立阀值进行的掉电检测
I2S
(音频芯片互联)接口,用于数字音频输入或输出
片上上电复位
SD/MMC存储卡接口
工作范围从1 MHz到24 MHz的片上晶体振荡器
70个通用I/O引脚,带可配置的上拉/下拉电阻
校准到1%精度的4 MHz内部RC振荡器
输入在6个引脚中输入多路复用的10位ADC
片上PLL
目标应用
工业控制
医疗系统
协议转换器
通信
LPC2368FBD100K中文参数
|
Operating
Frequency [Max] (MHz)
|
72
|
ADC (bits)
|
10
|
|
Flash (kB)
|
512
|
DAC (bits)
|
10
|
|
Ethernet
|
1
|
SCTimer / PWM
|
1
|
|
USB Controllers
|
1
|
Timers
|
1
|
|
CAN
|
2
|
Timer (bits)
|
32
|
|
UART
|
4
|
PWM
|
1
|
|
I2C
|
3
|
Temperature range
|
-40 °C to +85 °C
|
|
SPI
|
1
|
Supply voltage [min] (V)
|
3
|
|
I2S
|
1
|
Supply voltage [max] (V)
|
3.6
|
|
ADC (Channels)
|
1
|
Product category
|
150-LPC2100/200/300/400-
|
LPC2368FBD100K引脚图

