
LPC1754FBD80K
- 厂商名称NXP
- 元件分类ARM微控制器
- 中文描述基于ARM Cortex-M3内核的可扩展主流32位微控制器(MCU)
- 英文描述MCU Scalable Mainstream 32-bit Microcontroller(MCU)based on ARM Cortex-M3 Core
- 数据手册LPC1754FBD80K数据手册Datasheet PDF
- 在线购买
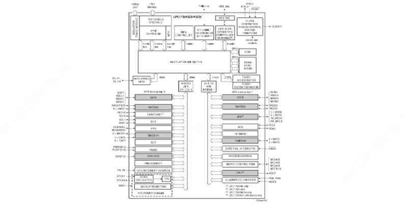
LPC1754FBD80K概述
LPC1754是一种适合嵌入式应用的Cortex-M3微控制器,具有较高的整合度和低功耗,运行频率为100 MHz。功能包括128 kB闪存、32 kB数据存储器、USB设备/主机/OTG、8通道DMA控制器、4个UART、1个CAN通道、2个SSP、1个SPI、2个I2C、8通道12位ADC、DAC、电机控制PWM、正交编码器接口、4个通用定时器、6输出通用PWM、带独立电池供电的超低功耗实时时钟以及最多52个通用I/O引脚。
目标应用
电子计量
照明
工业网络
报警系统
大型家电
电机控制
目标应用
电子计量
照明
工业网络
报警系统
大型家电
电机控制
LPC1754FBD80K中文参数
ARM Cortex-M3处理器,工作频率高达100 MHz
ARM Cortex-M3内置可嵌套矢量中断控制器(NVIC)
高达128 KB的片上闪存可编程存储器
高达32 kB SRAM
在系统编程(ISP)和在应用编程(IAP)
8通道通用DMA控制器(GPDMA)
多层AHB矩阵互连为每个AHB主机提供单独的总线
分割的APB总线使CPU与DMA之间几乎无失速,从而实现高吞吐量
USB 2.0全速Device/Host/OTG控制器,带专用DMA控制器
4个带小数波特率生成器的UART
单通道CAN 2.0B控制器
带同步、串行、全双工通信的SPI控制器
2个SSP控制器,带FIFO和多协议功能
2个I2C总线接口,支持数据速率达400 kbit/s的快速模式
52个通用I/O(GPIO)引脚,带可配置的上拉/下拉电阻
12位模拟-数字转换器(ADC),转换速率高达200 kHz
10位数字-模拟转换器(DAC)
4个通用定时器/计数器
一个用于三相电机控制的电机控制PWM
正交编码器接口,可监控一个外部正交编码器
一个标准PWM/定时器模块,带外部计数输入
实时时钟(RTC)
看门狗定时器(WDT)
ARM Cortex-M3系统节拍定时器,包括一个外部时钟输入选项
标准JTAG测试/调试接口。此器件不提供边界扫描说明语言(BSDL)。
集成式PMU(电源管理单元)
四种低功耗模式
3.3 V单电源(2.4 V至3.6 V)
一个可配置为边沿/电平触发的外部中断输入
非屏蔽中断(NMI)输入
唤醒中断控制器(WIC)
处理器通过任何中断从掉电模式的唤醒
以可触发中断和强制复位的独立阈值进行欠压检测
上电复位(POR)
工作范围从1 MHz到25 MHz的晶体振荡器
校准到1%精度的4 MHz内部RC振荡器
PLL允许CPU以最大CPU速率运行
USB PLL可额外增加灵活性
具有不同安全级别的代码读取保护(CRP)
可用作芯片识别的唯一序列号
ARM Cortex-M3内置可嵌套矢量中断控制器(NVIC)
高达128 KB的片上闪存可编程存储器
高达32 kB SRAM
在系统编程(ISP)和在应用编程(IAP)
8通道通用DMA控制器(GPDMA)
多层AHB矩阵互连为每个AHB主机提供单独的总线
分割的APB总线使CPU与DMA之间几乎无失速,从而实现高吞吐量
USB 2.0全速Device/Host/OTG控制器,带专用DMA控制器
4个带小数波特率生成器的UART
单通道CAN 2.0B控制器
带同步、串行、全双工通信的SPI控制器
2个SSP控制器,带FIFO和多协议功能
2个I2C总线接口,支持数据速率达400 kbit/s的快速模式
52个通用I/O(GPIO)引脚,带可配置的上拉/下拉电阻
12位模拟-数字转换器(ADC),转换速率高达200 kHz
10位数字-模拟转换器(DAC)
4个通用定时器/计数器
一个用于三相电机控制的电机控制PWM
正交编码器接口,可监控一个外部正交编码器
一个标准PWM/定时器模块,带外部计数输入
实时时钟(RTC)
看门狗定时器(WDT)
ARM Cortex-M3系统节拍定时器,包括一个外部时钟输入选项
标准JTAG测试/调试接口。此器件不提供边界扫描说明语言(BSDL)。
集成式PMU(电源管理单元)
四种低功耗模式
3.3 V单电源(2.4 V至3.6 V)
一个可配置为边沿/电平触发的外部中断输入
非屏蔽中断(NMI)输入
唤醒中断控制器(WIC)
处理器通过任何中断从掉电模式的唤醒
以可触发中断和强制复位的独立阈值进行欠压检测
上电复位(POR)
工作范围从1 MHz到25 MHz的晶体振荡器
校准到1%精度的4 MHz内部RC振荡器
PLL允许CPU以最大CPU速率运行
USB PLL可额外增加灵活性
具有不同安全级别的代码读取保护(CRP)
可用作芯片识别的唯一序列号
LPC1754FBD80K引脚图

爆款物料推荐
型号
价格
