ISN14919 是用于工业 PLC/远程 IO/DCS 系统的最优低边智能驱动芯片解决方案
ISN14919 Pin-to-Pin ADI MAX14919A
性能优:导通电阻 140mΩ,通道持续电流 1A,开关频率 500KHz
集成度高: LDO、电压钳位、限流,外围器件最少化
健壮性强: ESD、SURGE、过温、过流与短路、欠压、电压钳位
独家实现单芯片全过程数据二维码追溯

封装与选型
ISN14919 提供 TQFN20 封装(Pin-to-Pin 兼容 MAX14919A),特别适合 PLC 和远程 IO 卡片式产品。

TQFN20 封装(4mm*5mm)
关键参数
◆电源供电电压:5V 或者 7V ~ 60V
◆限流响应时间:us 级,电流越大响应越快
◆工作电流:4 通道 OUT 全部关断时为 0.8mA,4 通道 OUT 全部开启时为 1.2mA
◆ LDO :5V/50mA
◆ 逻辑电源电压:1.62V ~ 5.5V
◆开关频率:500kHz
◆负载电压:3V ~ 45V
◆限流选项:限流值可设置10ms 双倍电流
◆导通电阻:140mΩ(典型值)
◆负载电流:每通道持续电流 1A,峰值电流 3A
◆故障指示:VDD/V5/VL 欠压、芯片/LDO/通道过热
◆ 钳位电压:49V(典型值)
◆ 工作环境温度: -40°C ~ 125°C
◆保护功能:过热保护、欠压保护、短路保护、浪涌: ±1kV/42Ω 8µs/20µs、 HBM: ±2kV CDM :±2kV 、Contact: ±8kV Air: ±25kV

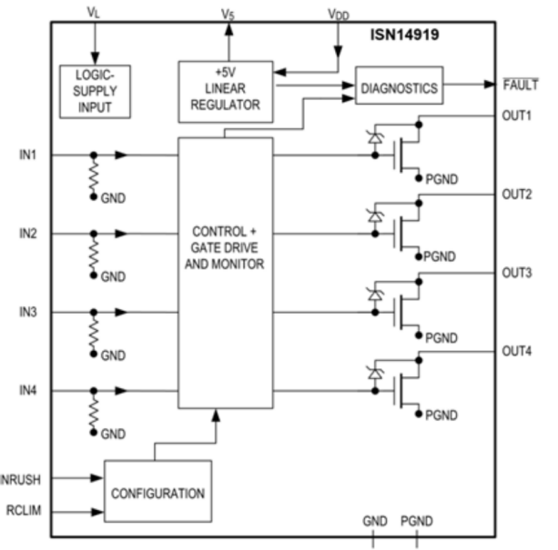
图1 芯片功能框图
产品应用场景

产品亮点
500KHz 的开关频率轻松应对高速应用场景
ISN14919 拥有优异的响应速度,ton 、toff 典型值分别为 55ns 、125ns ,tr 、tf 典型值 分别为 30ns 、50ns,能很好地满足 PLC 、 IO 模块的高速应用场景,让同类产品望尘莫 及。

低导通电阻、大持续电流轻松驱动各类负载
ISN14919 各输出通道 140mΩ 的导通电阻及 1A 的持续电流能力可满足 PLC 和 DCS 系 统、 IO 模块、电磁阀、继电器、小型马达等负载的需求,通道并联可满足更大负载的 应用场景。产品优良的设计可以很好地驱动阻性、容性、感性负载。

图 2 单通道输出 4A 电流
高精度 LDO 为客户节省一路隔离电源
ISN14919 内部集成 5V/50mA 高精度、高可靠性 LDO,可为前级逻辑侧的光耦或数字 隔离器供电,同时为芯片本身的逻辑电源供电并作为芯片 Fault 管脚的上拉电源,可为 客户节省一路隔离电源,节省器件成本和布板空间。
TQFN20 小封装及高集成度特别适合卡片式产品
4mm x 5mm 的芯片封装尺寸,叠加内部集成 LDO 、限流 、 电压钳位等设计,可完美 地契合卡片式等紧凑型产品需求,解决了工程师们在 PCB 布板上的空间忧虑,助力工 程师们把整机设计做到极致。

图 3 限流波形
高可靠性设计
ISN14919 具有 ESD 和浪涌防护、电压钳位、欠压保护、多模块过温保护、快速限流响 应和短路电流抑制能力等,确保芯片长期安全稳定工作。

图 4 四个通道同时驱动继电器电压钳位波形
关于安芯微
安芯微半导体是高性能、高可靠性模拟及混合信号芯片公司。自 2020 年成立以来,公司聚焦工业以太网芯片、隔离器件、传感器三大方向,为工业自动化、光伏储能、具 身机器人及消费电子等领域提供丰富的半导体产品及解决方案。
安芯微以『用"芯"科技,推动人类进步』为使命,致力于为实时通信提供芯片级解决方案。
立创商城购买链接:
|
商品编号 |
厂家型号/系列 |
规格 |
品牌名称 |
类目 |
|
C49172984 |
TQFN-20(4x5) |
安芯微 |
低侧开关 |




