芯片简介
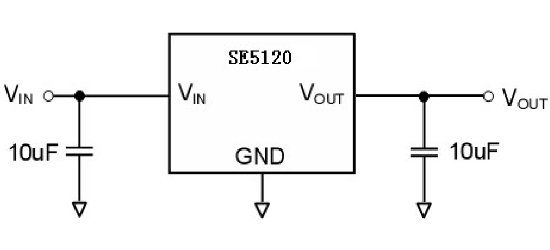
SE5120系列固定输出超低压差线性稳压器,专为便携电池供电应用设计,具有低功耗和低压差电压。包含带隙电压基准、误差放大器、PMOS功率晶体管及电流和温度保护电路。特性包括输出电压0.8V至3.9V、±2%精度、超低接地电流150μA、热保护和过流保护。
芯片特点:
输入6V
输出1.2A
精度±2%
输出3.3V


SE5120系列固定输出超低压差线性稳压器,专为便携电池供电应用设计,具有低功耗和低压差电压。包含带隙电压基准、误差放大器、PMOS功率晶体管及电流和温度保护电路。特性包括输出电压0.8V至3.9V、±2%精度、超低接地电流150μA、热保护和过流保护。
| 开源项目名称 | 开源项目介绍 |
|---|---|
| C2842719-LDO方案验证板(A版) | LDO验证板A版:3款SOT-23-3、3款SOT-89-3、2款SOT-23-5、2款SOT-23-6、2款SOT-223。 |
SMT扩展库
1000个/圆盘
总额¥0