芯片简介
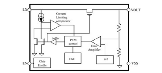
HE9118系列是采用PFM控制的同步升压DC/DC转换器,需外接电感和电容。内置MOSFET,当LX引脚电压超限时触发保护电路关闭。特性包括±2%精度、95%高效率、可调输出电压(0.1V步进)、350KHz振荡频率、关断模式电流低至1μA。内部组成包括控制电路、MOSFET驱动及保护电路。
芯片特点:
输入0.9V~7.5V
输出2.1V~5.5V
内置MOS
350KHz
使能


HE9118系列是采用PFM控制的同步升压DC/DC转换器,需外接电感和电容。内置MOSFET,当LX引脚电压超限时触发保护电路关闭。特性包括±2%精度、95%高效率、可调输出电压(0.1V步进)、350KHz振荡频率、关断模式电流低至1μA。内部组成包括控制电路、MOSFET驱动及保护电路。
描述HE9118系列是具有PFM控制的同步升压DC-DC转换器,可通过外部电感和电容器配置。内置MOSFET在LX引脚电压超过限制时关闭,以防止损坏。
RoHS
1000个/圆盘
总额¥0
近期成交7单
描述HE9118系列是具有PFM控制的同步升压DC-DC转换器,适用于数字相机、视频设备、电子笔记本、PDA、通信设备、便携式CD/MD播放器和微型计算机电源。该系列可通过外部电感和电容器配置输出电压。
RoHS
1000个/圆盘
总额¥0
近期成交4单
描述HE9118 系列是一款同步升压 DC-DC 转换器,采用 PFM 控制,具有外部电感和电容器。内置 MOSFET 在电压超过限制时会关闭以防止损坏。适用于数字相机、摄像设备、电子笔记本、PDA、通信设备、便携式 CD/MD 播放器和微计算机电源。
RoHS
1000个/圆盘
总额¥0
近期成交3单