芯片简介
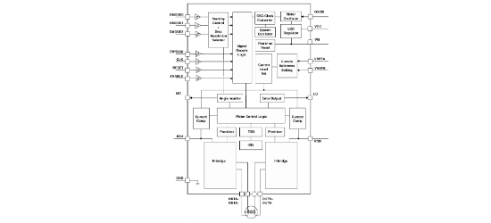
TB67S109AFTG是采用BiCD工艺的双极步进电机驱动器,支持PWM斩波恒流驱动和全/半/1/8/1/32步细分控制。特性包括0.49Ω低导通电阻MOSFET、高级动态混合衰减电流控制、内置错误检测和VCC稳压器,可通过外部电阻电容自定义斩波频率。功能框架由CLK解码器、H桥驱动、电流检测模块、保护电路和逻辑控制单元组成。
芯片特点:
输入50V
输出4.0A
电流检测
CLK数字输入

TB67S109AFTG是采用BiCD工艺的双极步进电机驱动器,支持PWM斩波恒流驱动和全/半/1/8/1/32步细分控制。特性包括0.49Ω低导通电阻MOSFET、高级动态混合衰减电流控制、内置错误检测和VCC稳压器,可通过外部电阻电容自定义斩波频率。功能框架由CLK解码器、H桥驱动、电流检测模块、保护电路和逻辑控制单元组成。
描述时钟控制双极性步进电机驱动器
SMT扩展库
4000个/圆盘
总额¥0
近期成交100单+