芯片简介
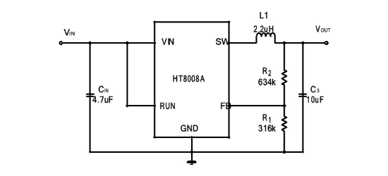
HT8008A是一款1.5MHz恒定频率的同步降压转换器,输入电压范围为2.0V至6.0V,输出电压可低至0.6V,支持100%占空比操作。该器件集成主开关和同步整流器,无需外部肖特基二极管,提供PWM和PFM两种工作模式以优化负载效率。内部功能包括误差放大器、补偿电路、软启动及短路和热保护,采用斜率补偿电流模式控制确保优异的瞬态响应。
芯片特点:
输入2.0V~6.0V
输出0.8A
内置MOS
1.5MHz
使能
软启动


HT8008A是一款1.5MHz恒定频率的同步降压转换器,输入电压范围为2.0V至6.0V,输出电压可低至0.6V,支持100%占空比操作。该器件集成主开关和同步整流器,无需外部肖特基二极管,提供PWM和PFM两种工作模式以优化负载效率。内部功能包括误差放大器、补偿电路、软启动及短路和热保护,采用斜率补偿电流模式控制确保优异的瞬态响应。
描述HT8008A 是一款高效率的1.5MHz常频电流模式降压转换器,集成了主开关和同步整流器,适用于便携设备的电源管理。
SMT扩展库
3000个/圆盘
总额¥0
近期成交9单