芯片简介
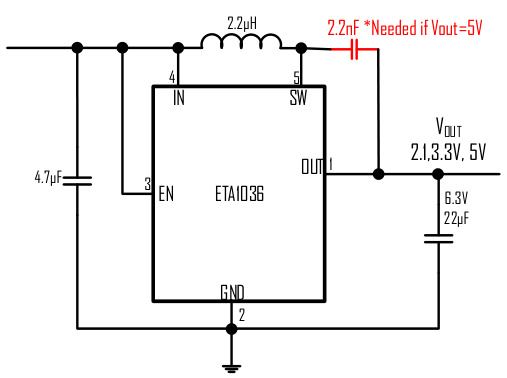
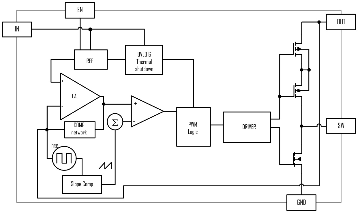
ETA1036V50S2F是一款高效同步升压转换器,支持最低0.85V启动电压,提供3W输出功率。集成内部同步整流器和150mΩMOSFET,采用电流模式PWM控制架构,具有输出短路保护、输入反向电流保护和轻载PFM模式。其内部组成包括控制电路、高边NMOS开关和同步PMOS整流器。
芯片特点:
输入0.6V~4.5V
输出5.0V
内置MOS
2MHz
使能


ETA1036V50S2F是一款高效同步升压转换器,支持最低0.85V启动电压,提供3W输出功率。集成内部同步整流器和150mΩMOSFET,采用电流模式PWM控制架构,具有输出短路保护、输入反向电流保护和轻载PFM模式。其内部组成包括控制电路、高边NMOS开关和同步PMOS整流器。
描述ETA1036 是一款高效同步升压转换器,可从低压电源向升压输出端提供高达 3W 的功率。与大多数升压转换器不同,它不仅能在低至 0.85V 的输入电压下启动,还集成了相关电路,可在关断、短路、输出电流过载或其他输出电压高于输入电压的情况下,将输入与输出断开。
RoHSSMT扩展库
3000个/圆盘
总额¥0
近期成交5单
描述ETA1036 是一款高效同步升压转换器,可从低压电源向升压输出端提供高达 3W 的功率。与大多数升压转换器不同,它不仅能在低至 0.85V 的输入电压下启动,还集成了相关电路,可在关断、短路、输出电流过载或其他输出电压高于输入电压的情况下,将输入与输出断开。
RoHS
3000个/圆盘
总额¥0
近期成交2单