芯片简介
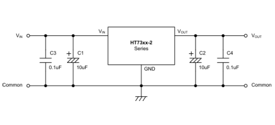
HT7323-2是低功耗高压LDO稳压器,采用CMOS技术,具有低压差和低静态电流,支持高达30V输入电压,输出电压范围2.1V至5.0V。芯片包含误差放大器、基准电压源、功率晶体管和保护电路,具备软启动功能和±1%的输出精度,适用于电池供电设备及通信设备。
芯片特点:
输入30V
输出250mA
精度±1%
输出2.3V
软启动

HT7323-2是低功耗高压LDO稳压器,采用CMOS技术,具有低压差和低静态电流,支持高达30V输入电压,输出电压范围2.1V至5.0V。芯片包含误差放大器、基准电压源、功率晶体管和保护电路,具备软启动功能和±1%的输出精度,适用于电池供电设备及通信设备。
| 开源项目名称 | 开源项目介绍 |
|---|---|
| C2842719-LDO方案验证板(A版) | LDO验证板A版:3款SOT-23-3、3款SOT-89-3、2款SOT-23-5、2款SOT-23-6、2款SOT-223。 |
SMT扩展库
1000个/圆盘
总额¥0
近期成交1单