芯片简介
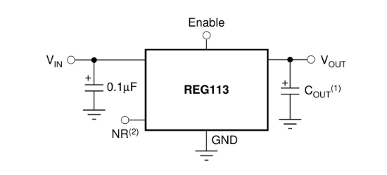
REG113NA-3.3/250是一款低噪声、低压差的线性稳压器,采用DMOS拓扑结构,提供250mV典型压差。特性包括±1.5%高精度、28µVrms超低噪声、850µA低接地电流,支持使能控制及软启动功能。内部集成误差放大器、基准电压源和DMOS功率晶体管,具有折叠电流限制和热保护功能,适用于便携通信设备、电池供电设备及存储设备供电。
芯片特点:
输入12V
输出0.4A
精度±1.5%
输出3.3V
软启动
使能

REG113NA-3.3/250是一款低噪声、低压差的线性稳压器,采用DMOS拓扑结构,提供250mV典型压差。特性包括±1.5%高精度、28µVrms超低噪声、850µA低接地电流,支持使能控制及软启动功能。内部集成误差放大器、基准电压源和DMOS功率晶体管,具有折叠电流限制和热保护功能,适用于便携通信设备、电池供电设备及存储设备供电。
| 开源项目名称 | 开源项目介绍 |
|---|---|
| C2842719-LDO方案验证板(A版) | LDO验证板A版:3款SOT-23-3、3款SOT-89-3、2款SOT-23-5、2款SOT-23-6、2款SOT-223。 |
描述REG113 具有使能功能的 400mA、10V、低压降稳压器
RoHSSMT扩展库
250个/圆盘
总额¥0
近期成交10单