芯片简介
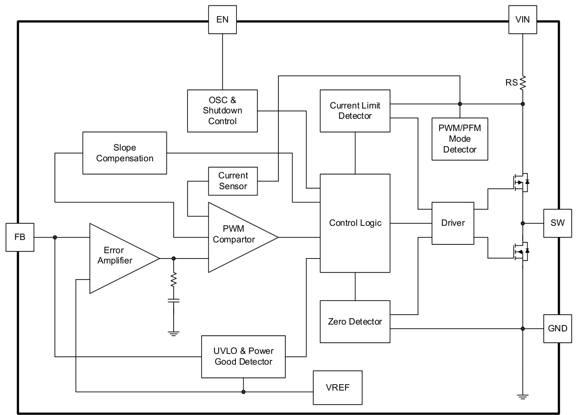
SL8088是一款高效率单片同步降压调节器,采用恒定频率电流模式架构,输入电压范围2.5V-5.5V,适用于单节锂离子电池供电场景。内置高/低边MOSFET开关,集成过流保护、过压保护和欠压锁定功能,具备1ms软启动机制。通过PFM模式实现轻载高效运行,静态电流仅40μA,支持0.6V可调输出电压基准,采用优化的内部补偿网络简化外围设计。
芯片特点:
输入2.5V~5.5V
输出0A~1A
内置MOS
1.5MHz
使能
软启动


SL8088是一款高效率单片同步降压调节器,采用恒定频率电流模式架构,输入电压范围2.5V-5.5V,适用于单节锂离子电池供电场景。内置高/低边MOSFET开关,集成过流保护、过压保护和欠压锁定功能,具备1ms软启动机制。通过PFM模式实现轻载高效运行,静态电流仅40μA,支持0.6V可调输出电压基准,采用优化的内部补偿网络简化外围设计。
描述SL8088是一款高效单片同步降压调节器,采用恒定频率电流模式架构。输入电压范围为2.5V至5.5V,最大连续输出电流为1A,输出电压可调范围为0.6V。开关频率为1.5MHz,内置短路保护、过温保护和过流限制功能。静态电流低至40μA,工作温度范围为-40°C至+85°C。提供SOT23-5封装。
3000个/圆盘
总额¥0
近期成交12单