芯片简介
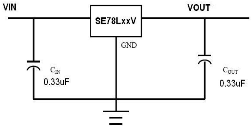
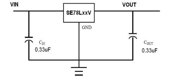
SE78L05-LF是78Lxx系列固定电压单片集成稳压器,用于消除单点调节噪声,支持100mA输出电流。具有内部热过载保护和短路限流功能,由误差放大器、基准电压源、功率晶体管及保护电路构成。特性包括三端稳压、低噪声输出和输入电压调节。
芯片特点:
输入30V
输出100mA
精度±4%
输出5V

SE78L05-LF是78Lxx系列固定电压单片集成稳压器,用于消除单点调节噪声,支持100mA输出电流。具有内部热过载保护和短路限流功能,由误差放大器、基准电压源、功率晶体管及保护电路构成。特性包括三端稳压、低噪声输出和输入电压调节。
| 开源项目名称 | 开源项目介绍 |
|---|---|
| C2842719-LDO方案验证板(A版) | LDO验证板A版:3款SOT-23-3、3款SOT-89-3、2款SOT-23-5、2款SOT-23-6、2款SOT-223。 |
描述这款78Lxx系列是固定电压的单片集成电路稳压器,适用于广泛的应用场景。这些应用包括板载稳压,以消除与单点稳压相关的噪声和配电问题。此外,它们可与功率传输元件配合使用,制成大电流稳压器
SMT扩展库
1000个/圆盘
总额¥0