芯片简介
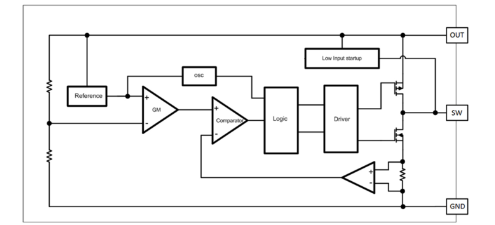
BL8536是一款低输入电压启动的同步升压转换器,支持0.9V启动电压和高达95%的效率。采用1MHz开关频率和电流模式PWM控制,内置同步整流器及补偿电路,适用于单节电池供电场景。内部组成包括控制回路、误差放大器、PWM控制器、振荡器和功率级驱动电路。
芯片特点:
输入0.9V~5V
输出1.8V~3.6V
内置MOS
1MHz
工业品

BL8536是一款低输入电压启动的同步升压转换器,支持0.9V启动电压和高达95%的效率。采用1MHz开关频率和电流模式PWM控制,内置同步整流器及补偿电路,适用于单节电池供电场景。内部组成包括控制回路、误差放大器、PWM控制器、振荡器和功率级驱动电路。
描述BL8536是一款升压转换器,可从低电压源提供升压输出电压。由于其独特的设计,它能在低至0.9V的输入电压下启动,且待机电流仅为15μA,使其成为单节碱性/镍氢电池应用的理想选择。1MHz的开关频率允许使用小型、薄型电感和陶瓷电容,从而最大限度地减小了方案尺寸
SMT扩展库
3000个/圆盘
总额¥0
近期成交12单
描述升压IC 低至0.9V输入 1MHz 输出300mA 8uA静态电流
SMT扩展库
3000个/圆盘
总额¥0
近期成交44单