芯片简介
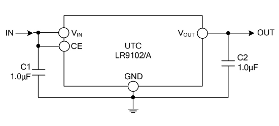
UTCLR9102/A是一款高精度、低噪声的LDO稳压器,具有高输出电压精度、低静态电流、低压差电压和高纹波抑制。内部包含电压参考单元、误差放大器、电阻网络、限流电路和芯片使能电路,并带有关断时的自动放电功能。特性包括±1.0%的输出电压精度,低至50μA或90μA的静态电流,0.12V的典型低压差电压,75dB的纹波抑制,以及低噪声输出。
芯片特点:
输入6V
输出300mA
精度±1.0%
功耗:50μA/90μA
输出可调
使能

UTCLR9102/A是一款高精度、低噪声的LDO稳压器,具有高输出电压精度、低静态电流、低压差电压和高纹波抑制。内部包含电压参考单元、误差放大器、电阻网络、限流电路和芯片使能电路,并带有关断时的自动放电功能。特性包括±1.0%的输出电压精度,低至50μA或90μA的静态电流,0.12V的典型低压差电压,75dB的纹波抑制,以及低噪声输出。
| 开源项目名称 | 开源项目介绍 |
|---|---|
| C2842719-LDO方案验证板(A版) | LDO验证板A版:3款SOT-23-3、3款SOT-89-3、2款SOT-23-5、2款SOT-23-6、2款SOT-223。 |
描述UTC LR9102/A是一款典型的LDO(线性稳压器),具有输出电压精度高、电源电流低、导通电阻低和纹波抑制比高的特点。在UTC LR9102/A工作期间,压差非常低,并且对线路瞬态和负载瞬态的响应非常好。
RoHSSMT扩展库
3000个/圆盘
总额¥0