芯片简介
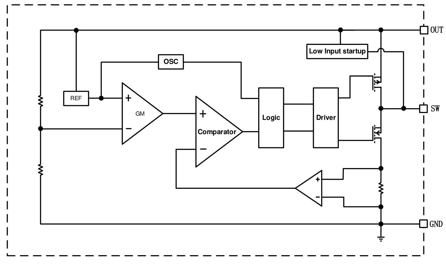
MD3156是一款低输入电压启动的升压转换器,支持最低1.1V启动电压,待机电流15μA,适用于车规级和电池供电设备。采用1MHz开关频率设计,允许使用小型电感器及陶瓷电容,具备内部同步整流器和补偿电流模式控制,效率高达95%。特性包括低噪声PWM控制、内部同步整流及低纹波输出。
芯片特点:
车规级
输入1.1V~5V
输出1.8V~3.6V
内置MOS
1MHz
使能


MD3156是一款低输入电压启动的升压转换器,支持最低1.1V启动电压,待机电流15μA,适用于车规级和电池供电设备。采用1MHz开关频率设计,允许使用小型电感器及陶瓷电容,具备内部同步整流器和补偿电流模式控制,效率高达95%。特性包括低噪声PWM控制、内部同步整流及低纹波输出。
描述MD3156是一款低输入电压启动的电流模式DC-DC升压转换器,最大输出电流为300mA,开关频率为1MHz,具有低静态电流(典型值15uA),适用于单节碱性/NiMH电池操作。
SMT扩展库
3000个/圆盘
总额¥0
近期成交4单