芯片简介
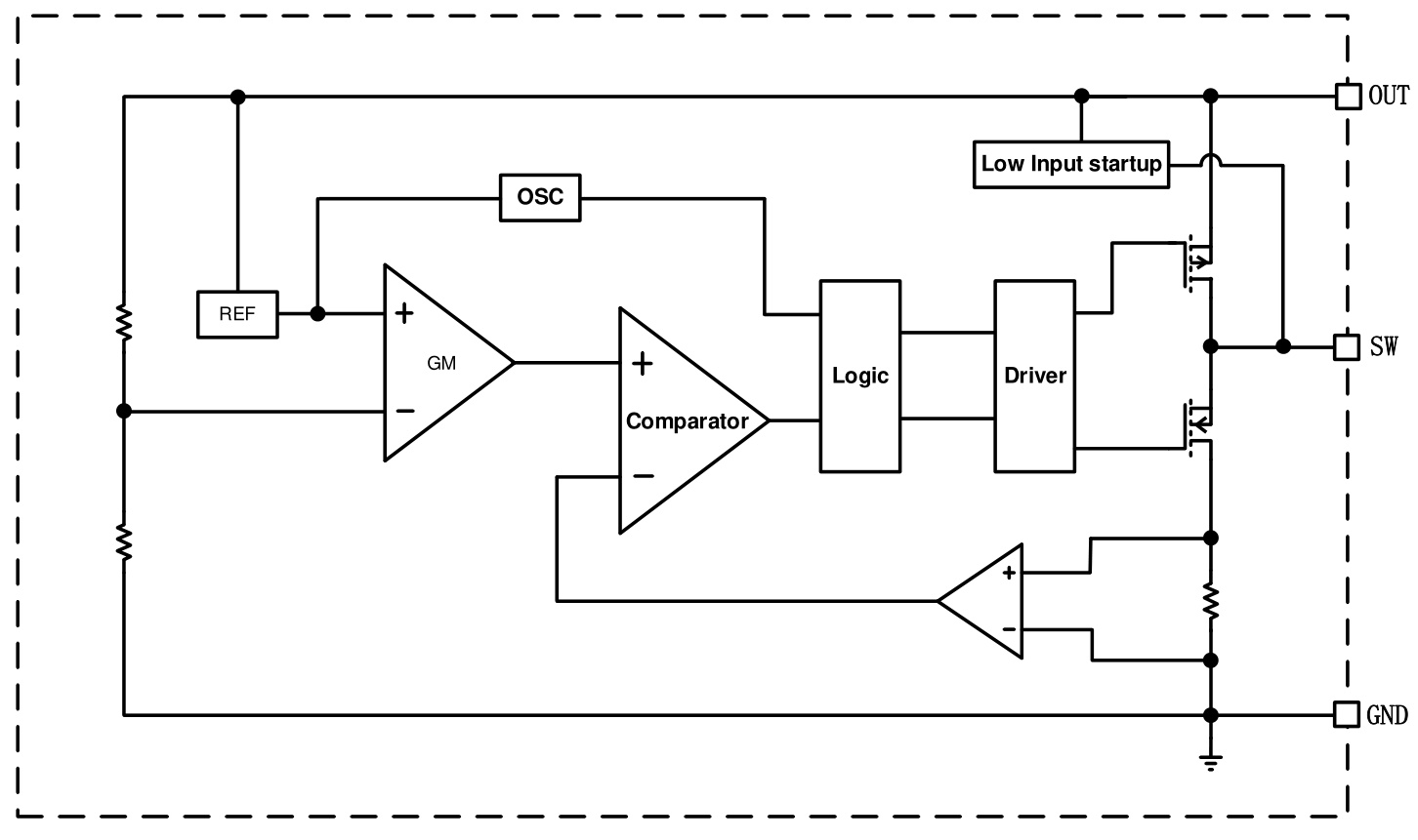
MD3156是一款低输入电压启动的升压转换器,支持1.1V启动电压和15μA待机电流,适用于单节碱性电池应用。采用1MHz开关频率和内部同步整流设计,包含启动电路、主控制回路(参考电压、GM误差放大器、PWM控制器、电流感应放大器、振荡器及功率级),具有高效率(95%)、低噪声PWM控制和内部补偿特性,适用于汽车及工业领域。
芯片特点:
输入1.1V~5V
输出3.6V
内置MOS
1MHz
使能


MD3156是一款低输入电压启动的升压转换器,支持1.1V启动电压和15μA待机电流,适用于单节碱性电池应用。采用1MHz开关频率和内部同步整流设计,包含启动电路、主控制回路(参考电压、GM误差放大器、PWM控制器、电流感应放大器、振荡器及功率级),具有高效率(95%)、低噪声PWM控制和内部补偿特性,适用于汽车及工业领域。
描述MD3156是一款升压转换器,可从低电压源提供升压后的输出电压。由于采用了专利设计,它能在低至1.1V的输入电压下启动,且待机电流仅为15μA,是单节碱性/镍氢电池应用的理想选择。1MHz的开关频率允许使用小型、薄型电感器和陶瓷电容器,从而最大限度地减小了方案尺寸
SMT扩展库
3000个/圆盘
总额¥0
近期成交4单